我公司都市机械万通牌GQ系列清洗机是专门为糠醛厂、水泥厂、热力电厂、石油化工厂及、化肥厂、制氧厂等设计和生产的,它不仅能克服一切硬垢、软垢及结死的管子,而且能达到比较理想的清洗效果,已被国家列为推广产...
咨询热线:139-3727-7009
产品详情Product details

我公司都市机械万通牌GQ系列清洗机是专门为糠醛厂、水泥厂、热力电厂、石油化工厂及、化肥厂、制氧厂等设计和生产的,它不仅能克服一切硬垢、软垢及结死的管子,而且能达到比较理想的清洗效果,已被国家列为推广产品。
特点:1、适应范围:糠醛厂废水蒸发器,粗馏塔、预热器、冷油器、空冷器及水泥厂、冷凝管、换热器、石油化工的的小冷设备和其它结垢设备,管径在9mm以上的只管均可进行除垢。
2、省工、省力、省时、省资金,清洗彻底,不会伤害您的管壁。
工作原理:有动力系统通过高压软管内软转动轴、水轮增压转换器及枪杆,将扭动力传递至带喷水的工作清洗头上,成旋转喷水于一体的快速前进状态,对已结死的管子及管壁上的硬垢切削成碎沫、顺水冲走。
GQ-280B型凝结器使用方法:
1、为了减轻劳动强度,使用前先安装好随机配备的滑轮组架,滑轮架高出凝汽器即可,然后固定好拉力弹簧和活动吊链,吊好水轮转换器,使用过程中,如高、低、左、右不适当,应停机调好活动吊链。保护与铜管通心度。
2、开机前,应检查旋转方向是否与机壳箭头所示,不准逆转。让后软管转动轴与机体连接好,再依次安装水轮增压器,枪杆,拧紧清洗头。先通水后开机,进行调试,是否漏水。如漏水应拧紧漏水部位。
3、在清洗时高压软管(黑管)不得握成死弯,用铁丝吊起,成自然慢弯为宜,以免内转动软轴受阻增大,减少使用寿命。
4、开机前先通水后开机,关机时先关机后关水,以免损伤密封件。
5、清洗时操作人员可视清洗管径大小选用清洗头,所选清洗头应小于被清洗管径0.5—0.20mm,结垢越厚,洗头越小;相反,结垢越薄,洗头就越大。
6、清洗时若发现动力转动轴,枪杆有剧烈跳动或卡住,则需将枪杆拉出少许,再向前推进,往复进行,直到能顺利通过为止。
7、严禁在操作时,强行推进。以免损伤转动软轴,操作人员两人为宜,为了减少清洗时间,开机后尽量减少停机次数,操作洗头人员,要掌握熟练的技巧。
8、机器必须有专人看守,出现故障随时停机检查。
9、清洗冷油器,需换枪杆、洗头,方能使用。
注:从机器里边引出的电缆线是三根接火线,一根接零线。面板上的调速表,根据您工作需要,结垢情况适当调整你所需要的转速。
WT-358A型废水蒸发器、粗馏塔、换热器、冷凝器、高压清洗机使用方法
WT-358A废水蒸发器、粗馏塔、换热器、冷凝器、凝结器、预热器、多功能高压清洗机配7.5和2.2KW差速电机,黄铜泵头、防腐耐用,陶瓷柱塞、耐磨持久,更抗腐蚀、液泵装有自动卸荷阀,在通洗头关闭时,清洗机的压力能迅速下降,延长机器的使用寿命,压力在280kg内任意调整,可清洗表面及通洗直径8mm-200mm结死的横管和竖管,本套设备具有漏电、过载、断相、自动报警、自动保护之功能,整机结构紧凑、移动轻便、压力高、效果好、操作简便、使用安全,是一套糠醛厂、水泥厂、火电厂、化肥厂较为理想的清洗设备。
一、技术参数
机器型号:WT-358A清洗机(陶瓷柱塞)
电 压:380V
功 率:7.5×2.2KW
转 速:145rmp/min
工作压力:28MPa
流 量:28.5L
清洗直径:φ8-200mm
清洗长度:15m
外形尺寸:(长×宽×高)1100×600×850
重 量:195kg
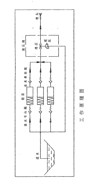
二、工作原理图
工作原理:电源接通后,电动机带动高压泵轴转动,泵轴通过曲轴连杆机构使得柱塞作往复运动,当柱塞的运动是缸体的泵容积增加时,进水单向阀打开,出水单向阀门关闭,水由进水管经

过进水单向阀进入泵腔。当柱塞的运动使泵的容积减少时,进水单向阀关闭,出水单向阀门打开,出水泵腔内的水经过出水单向阀、出水管道扳机式喷枪,板动喷枪扳机后,水由喷枪射出。当喷枪扳机未板动时,泵腔内压出的水推动调压阀内的差动柱塞,水从水口部位又回到进水口,即水在高压泵内部循环,此时水温急聚上升,所以高压泵在工作时应尽量避免长时间关闭喷枪,以免造成高压泵的损坏。
三、使用方法
出水管连接
将高压出水管的快换插头与泵出水口的快换接头相连(快换接头的接法为:在手移动快换接头卡环、右手迅速插上需要的快换插头后,松开快换接头卡环,并将其退回原位即可),高压管的另一螺纹端与喷枪相连并紧固。
机器具有自动吸水功能,使用较洁净的不含砂粒的静水。
为了保证机器正常运转和使用,该机必须配备工作责任性较强,并有一定机械知识的专人管理,负责保养和维修。
1、设制0.5立方米干净的存水箱一只,并需加盖以防污物进入。
2、安装上进水管、进水管的另一端装上进水过滤器,并用夹头夹紧过滤器离底层水面20公分以上,再将进水管螺纹端旋接在机器进水口处并紧固。
3、使用机器是必须安全接地。
先接通电源,再打开喷枪扳机,后打开清洗机开关,启动清洗机后,应先待泵内空气排尽后,才能实施清洗作业。
清洗结束后,应先关闭清洗机开关,在关闭水源,后关闭喷枪,这样才会免除水管和喷枪内存有高压可能伤人的危险。
如有电机出现异常噪音或冒烟现象,则是由于压力过高引起的,此时请释放降低清洗机的使用压力。
4、机器工作时必须保证持续的水供给,在无水情况下运行机器会导致部分器材的损坏,请不要让机器在关闭枪的情况下运行时间超过2分钟。
5、进行清洗作业时,扳动喷枪扳机手柄会导致反弹,一定要双手握紧喷枪手柄。
6、不可使用含有氯化物和任何漂白的清洗剂,酸性或腐蚀作用的清洗剂,此类物质会使机器遭遇不可逆转的损坏。
7、高压喷射的水流存在潜存的危险,不能对着人、动物、机电设备和电源进行喷射。
8、正常情况下,清洗剂的工作压力在出厂时已调定,请不要自行调节。
9、高压清洗机不应让儿童或没有受过培训的人使用,禁止在无人值守是让机器运转。
四、保养与保修
1、机器在出厂时泵内否添加了本公司原厂配备的“清洗专用机油”在机器使用一段时间后,应对泵内的机油进行更换,可使用新的牌号为SAE 15W-40或同等牌号4冲程摩托车机油。
2、新机在使用50小时候,必须对高压泵曲轴箱进行清洗,具体方法如下:先旋下泵的放油落地将曲轴箱内旧机油方净,重新安装好放油螺丝后往曲轴箱内加入洁净的煤油,油量以稍稍没过油镜上的红色标记为准,让泵空载运行10—15秒,关闭机器后彻底排空煤油,注入新机油以后每个100小时更换机油一次,这样对延长管清洗机使用寿命是非常重要的。
3、清洗剂长期不用时,应拆下吸水管和出水管并将泵内余水排尽后妥善入置,在寒冷的天气应考虑适当的防冻措施,以防止泵内零件被冻裂。
五、障碍及排除
故 障 | 原 因 | 排 除 方 法 |
电动机启动不起来或运行自动停机 | 1.电源无电或插座接触不良 2.电机开关受潮或损坏 3.电压偏低 | 1.检查电源,插好插头。 2.进行干燥或修理。 3.请电工检查电网电压。 |
喷头不出水,或出水压力不稳 | 1.喷空堵塞。 2.管路中有空气。 3.进水管破裂 4.进水滤网堵塞。 | 1.拆下喷头,清洗。 2.检查进水管螺纹处是否紧固,让后给进水管灌满水,再打开喷枪,启动电动机。 3.更换进水管。 4.清洁滤网。 |
接头处漏水 | 1.螺纹连接处,螺纹未紧固。 2.接头处O型圈损坏。 3.快换接头未插好。 4.非锥面结合螺纹连接处无垫圈或垫圈已损坏。 | 1.旋紧螺纹。 2.更换O型圈。 3.重新插好快换接头。 4.装入或更新垫圈。 |
曲轴箱发热 | 1.油过多。 2.油太少而引起连杆咬轴。 | 1.放掉多余的油。 2.拆修,除去连杆和轴上咬痕 |
压力调不上 | 1.喷嘴喷空太大。 2.进水滤网堵塞。 | 1.更换喷嘴。 2.清洁滤网。 |
无出水或出水量太小 | 1.新泵不吸水。 2.泵体内有杂物。 3.进出水单向阀损坏。 | 1.开机,向进水管灌水,以排尽管内空气。 2.拆修。 3.更换。 |
本产品实行三包,代办托运,在售出一年内免费维修,主机负责调换。用户在购买时,我公司负责送货上门,免费技术指导,现场操作,顾客满意是我们宗旨。将以成熟的技术,优质的产品更好地为新老客户服务。
联系我们Contact us
河南都市机械设备有限公司
手机:139-3727-7009
联系人:都经理
地址:滑县道口镇人民路北段138号
扫一扫
扫一扫